玻璃管轉子流量計與不銹鋼玻璃轉子流量計的原
一.TT-LZ-玻璃管轉子流量計概述:






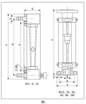
TT-LZB()B/LZJ系列不銹鋼玻璃轉子流量計型號規格及技術參數
| 測量范圍 |
水(20℃)10-1000000L/h 空氣(101325Pa、20℃)0.3-220Lm3/h |
| 范圍度 | 10: |
| 準確度、等級 | 1.0;1.6 |
| 錐管 | 長度:300mm |
| 標尺 | 毫米標尺及流量標尺 |
| 被測流體狀況 |
壓力:DN15-DN25:1.0MPaDN40:0.9MPaDN50:0.7MPa 溫度;-20℃~120℃ |
|
公稱通徑 DN (mm) |
型 號 | 范圍度 | 測量范圍 |
錐管長度 (mm) |
精確度等級 | 允許被測流體狀況 | |||
| 水,20℃ |
空氣,20℃, 1.01325×105Pa |
LZB/LZJ |
LZB-( )F LZJ-( )F |
溫度(℃) | 壓力(MPa) | ||||
| 4 |
LZB-4 LZB-4F |
1~10L/h 1.6~16L/h 2.5~25L/h |
16~160L/h 25~250L/h 40~400L/h |
100 | 2.5 | 2.5;4 | -20~+120 | ||
| 6 |
LZJ-6 LZJ-6F |
2.5~25L/h 4~40L/h 6~60L/h |
40~400L/h 60~600L/h 100~1000L/h |
2.5 | 2.5;4 | -20~+120 | ≤1 | ||
| 10 |
LZJ-10 LZJ-10F |
6~60L/h 10~100L/h 16~160L/h |
100~1000L/h 160~1600L/h 250~2500L/h |
160 | -20~+120 | ≤1 | |||
| 15 |
LZB-15 LZB-15F |
16~160L/h 25~250L/h 40~400L/h |
0.25~2.5m3/h 0.4~4m3/h 0.6~6m3/h |
350 | 2.5 | 2.5 | -20~+120 | ≤0.6 | |
| 25 |
LZB-25 LZB-25F |
40~400L/h 60~600L/h 100~1000L/h |
1~10m3/h 1.6~16m3/h 2.5~25m3/h |
1.5 | 2.5 | -20~+120 | ≤0.6 | ||
| 40 |
LZB-40 LZB-40F |
160~1600L/h 250~2500L/h |
4~40m3/h 6~60m3/h |
430 | 2.5 | -20~+120 | ≤0.6 | ||
| 50 |
LZB-50 LZB-50F |
0.4~4m3/h 0.6~6m3/h |
10~100m3/h 16~160m3/h |
450 | 1.5 | 2.5 | -20~+120 | ≤0.6 | |
| 80 |
LZB-80 LZB-80F |
1~10m3/h 1.6~16m3/h 5~25m3/h |
50~250m3/h 80~400m3/h |
500 | 2.5 | -20~+120 | ≤0.4 | ||
| 100 |
LZB-100 LZB-100F |
5~25m3/h 8~40m3/h 12~60m3/h |
120~600m3/h 200~1000m3/h |
2.5 | -20~+120 | ≤0.4 | |||
|
注:液體流量的大測量范圍,可安用戶需要,擴大到90m3/h |
|||||||||
騰泰儀表推薦
相關公司動態
- TT-UFZ簡易式重錘浮標液位計和TT-UFZ翻板式重錘浮標液位計的區別
- 定制HC膜片液位變送器TT-2088G-2M
- 1/2螺紋特殊定制阻旋料位開關
- 差壓變送器一般常見故障
- 氣體渦輪流量計的工作原理和日常維護
- 超聲波明渠流量計的技術參數和接線方法
- 手持式超聲波流量計的工作原理和主要用途
- 流量差報警儀的應用范圍、基本參數和操作方法
- 智能流量積算儀的概述和基本操作
- 電浮筒液位計的原理和應用范圍
- 投入式液位變送器原理、結構及安裝調試
- 智能旋進旋渦流量計的使用方法及參數切換設置
- 液位上下限報警控制、液位高低報警控制及無線
- 超聲波液位計的裝置與設置
- 防爆型超聲波液位計的裝置方式及注意事項
- 氣體腰輪流量計的造型要求和安裝注意事項
- 旋進旋渦流量計與氣體渦輪流量計的主要區別
- TT-LWGY系列渦輪流量計的用途和原理
- 孔板流量計的特點
- TT-UQK浮球液位控制器的調試和安裝
- 磁翻板液位計的安裝保養
- 氣體渦輪流量計如何安裝
- 分體式超聲波液位計接線圖
- 投入式液位變送器在靜、動水中的電氣連接
- 導波雷達物位計測量原理技術要求
- 插入式電磁流量計安裝要求
- 氣體渦輪流量計的使用和維護
- 孔板流量計的安裝要求和維護注意事項
- 浮標液位計的安裝與使用
- 雙金屬溫度計的種類和用途

